中国安全科学学报 ›› 2026, Vol. 36 ›› Issue (3): 89-97.doi: 10.16265/j.cnki.issn1003-3033.2026.03.1262

• 安全技术与工程 • 上一篇    下一篇

基于改进YOLOv12的叉车行驶障碍物安全预警距离研究*

周成1(), 戴闻杰2, 万舒昊1, 居里锴1   

  1. 1 南京理工大学 工程训练中心, 江苏 南京 210094
    2 宁波纬诚科技股份有限公司, 浙江 宁波 315000
  • 收稿日期:2025-09-30 修回日期:2025-12-10 出版日期:2026-03-31
  • 作者简介:

    周 成 (1986—),男,江苏涟水人,博士,高级工程师,主要从事智能安全技术等方面的研究。E-mail:

    居里锴,副研究员。

Safety distance warning for forklift driving obstacles based on improved YOLOv12

ZHOU Cheng1(), DAI Wenjie2, WAN Shuhao1, JU Likai1   

  1. 1 Engineering Training Center, Nanjing University of Science and Technology, Nanjing Jiangsu 210094, China
    2 Ningbo Weicheng Technology Co., Ltd., Ningbo Zhejiang 315000, China
  • Received:2025-09-30 Revised:2025-12-10 Published:2026-03-31

摘要:

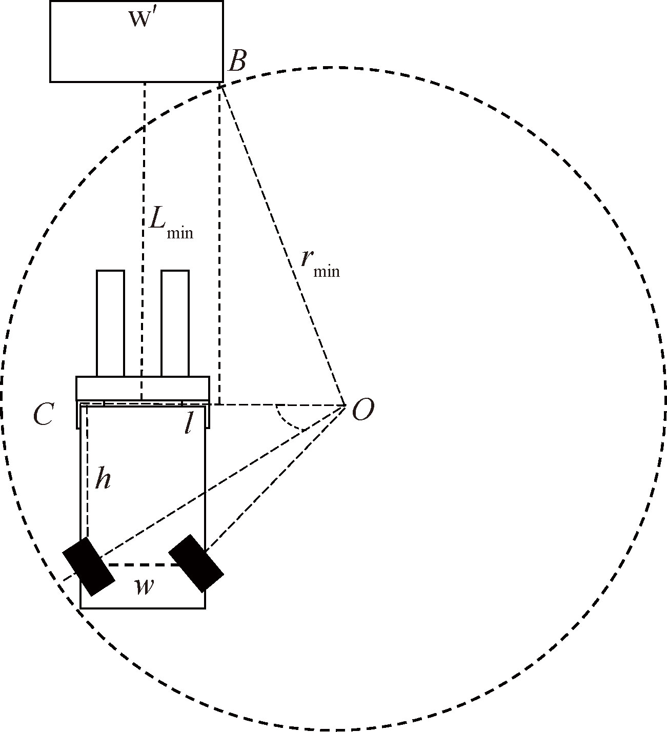
为解决现有叉车行驶障碍物安全预警距离测量设备存在价格高且数量需求多的问题,提出一种基于图像信息的叉车行驶障碍物安全距离预警模型。首先,基于深度学习技术,引入压缩和激励(SE)网络通道注意力机制,使用全自适应阈值焦点损失函数(ATFL)替代交并比(IoU)定位损失函数等方法,改进YOLOv12算法,识别出叉车行驶障碍目标;其次,在改进的YOLOv12算法基础上,引入卡尔曼滤波完善运动预测模型,采用考虑相机俯仰角的距离检测方法,获取不同类别目标与行驶叉车间的实际距离;然后,分析叉车制动和叉车避障的运动学过程,分别建立安全制动距离预警级别和安全避障距离预警级别划分准则;最后,通过试验验证基于图像信息的叉车行驶障碍物安全预警距离的可行性。结果表明:所提出的实时距离预警模型能够实时准确识别障碍物目标,并在误差允许的范围内准确定位与障碍物的距离,分级预警叉车行驶中障碍物风险。

关键词: YOLOv12, 叉车行驶, 安全预警距离, 风险区域, 障碍物测距, 预警级别

Abstract:

In order to solve the problems of high equipment price and large quantity demand in the existing forklift driving obstacle safety early warning distance measurement, a forklift driving obstacle safety distance early warning model based on image information was proposed. Firstly, based on deep learning technology, Squeeze-and-Excitation(SE) networks channel attention mechanism is introduced, and methods such as replacing the Intersection over Union(IoU) localization loss function with the Adaptive Threshold Focal Loss (ATFL)function are employed to improve the YOLOv12 algorithm for identifying obstacle targets in forklift travel. Secondly, on the basis of the improved YOLOv12 algorithm, the Kalman filter was introduced to improve the motion prediction model. And the distance detection method considering the camera pitch angle was used to accurately obtain the actual distance between different types of targets and the driving fork workshop. Thirdly, the kinematic process of forklift braking and forklift obstacle avoidance was analyzed, and the classification criteria of safe braking distance warning level and safety obstacle avoidance distance warning level were established, respectively. Finally, experiments were carried out to verify the feasibility of the safety warning distance of forklift driving obstacles based on image information. The results show that the real-time distance warning model can accurately identify obstacle targets in real-time and precisely determine the distance to obstacles within the permissible error range, enabling risk-level warning for obstacles during forklift operation.

Key words: YOLOv12, forklift operation, safety early warning distance, risk area, obstacle distance measurement, warning level

中图分类号: